中文

新闻中心

News Center

能源管理系统项目案例分享

发布时间:2023-07-18 浏览次数:


    一、项目档案
    项目名称:山西亮宇炭素有限公司有限公司能源管理项目案例
    所属行业:非金属矿物制品业(石墨及碳素制品制造)
    项目采购相关设备:能源管理系统1套、辅材1批等
     
    二、项目简介
    1、项目介绍
    山西亮宇碳素有限公司,位于山西省晋中市平遥县岳壁乡金庄村,是一家经营碳素材料、石墨电极、碳电极、碳精棒、石墨碳精棒;铝用碳素制品、再生橡胶、碳素设备,经核准的经营项目的进出口业务的企业。
    2、用户需求
    能耗层面:建设一套能源管理系统,对电、燃气能源进行实时监测,远程抄表,实现能源的精细化监测,并且实现能耗数据与成本预算系统的对接,帮助企业实现能源成本核算和费用对标。
    设备层面:建设对磨粉机设备的运行状态的监测,通过对磨粉机电机的电压电流监测,判断设备的运行健康状态,做到电机电流的越限报警。
     
    三、能源管理系统解决方案
    1、系统配置

    2、系统架构
    T@Energy智慧能源管理系统架构包括能效管理层、网络通讯层、现场设备层三层架构。本方案结合网络通讯、数据库产品和技术建立一套先进的、符合非金属矿物制品业管理应用功能的能源管理系统。

    3、系统功能
     
     
    四、部分功能展示
     
    实时数据:设备实时数据监测。

     
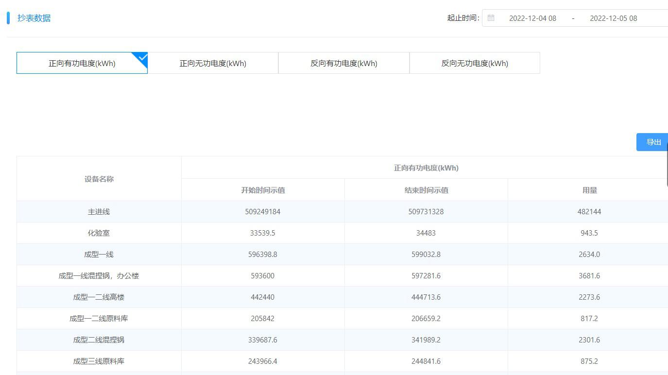
    远程抄表:按照客户需求进行远程抄表

     
    设备运行组态:通过组态如图形反馈设备运行状态,告警提示

     
    APP推送